Salta ai contenuti.Salta alla navigazione

Dal 9 dicembre 2025 al 12 gennaio 2026 compresi non sarà possibile effettuare acquisti sul nostro sito web. Potrete tornare a fare i vostri acquisti online dal 13 gennaio 2026.

Dal 9 dicembre 2025 al 12 gennaio 2026 compresi non sarà possibile effettuare acquisti sul nostro sito web. Potrete tornare a fare i vostri acquisti online dal 13 gennaio 2026.

172168 ROCCAROMANA

ROCCAROMANA
2.0 NETTO IVA 22.0%
  • Disponibilita'
  • Accedi al sito per procedere con l'acquisto
Punti trigonometrici scheda descrittiva
Le schede monografiche dei punti trigonometrici non sono visibili poiche' al momento e' in corso la loro digitalizzazione: prima di acquistare il punto si consiglia di contattare l'archivio geodetico per avere maggiori informazioni
172168     ROCCAROMANA
Cartografia Serie 25 417 sez II Pietramelara
Serie 25V 172 INO Dragoni
Localizzazione
Nazione ITALIA
Regione CAMPANIA
Provincia CASERTA
Comune ROCCAROMANA
Carabinieri PIETRAMELARA
Coordinate Attenzione Le coordinate geografiche sono in gradi sessagesimali approssimate al secondo. Le coordinate piane e le quote sono espresse in metri con cifre significative fino al decametro.
ROMA40   ETRF2000   Quote
Φ 41° 16' 26"   Φ 41° 16' 29"   s.l.m. 160
λ 01° 45' 57"   λ 14° 13' 05"   Quote ellisoidica  
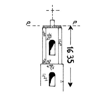
Materializzazione Campanile della chiesa. Asse geometrico del campanile, materializzato da pilastrino terminale.
Accesso
Informazioni Ausiliare
Produttore IGM
Segnalizzato 1936
Modalita':  Vertici trigonometrici di incerta definizione
Immagini:




Monografia
(Clicca sulle immagini per ingrandire)
Message