Salta ai contenuti.Salta alla navigazione

Dal 9 dicembre 2025 al 12 gennaio 2026 compresi non sarà possibile effettuare acquisti sul nostro sito web. Potrete tornare a fare i vostri acquisti online dal 13 gennaio 2026.

Dal 9 dicembre 2025 al 12 gennaio 2026 compresi non sarà possibile effettuare acquisti sul nostro sito web. Potrete tornare a fare i vostri acquisti online dal 13 gennaio 2026.

096137 MONTI DEBBIA

MONTI DEBBIA
10.0 NETTO IVA 22.0%
  • Disponibilita'
  • Accedi al sito per procedere con l'acquisto
Punti trigonometrici scheda descrittiva
Le schede monografiche dei punti trigonometrici non sono visibili poiche' al momento e' in corso la loro digitalizzazione: prima di acquistare il punto si consiglia di contattare l'archivio geodetico per avere maggiori informazioni
096137     MONTI DEBBIA
Cartografia Serie 25 249 sez I Piazza al Serchio
Serie 25V 096 ISO Piazza al Serchio
Localizzazione
Nazione ITALIA
Regione TOSCANA
Provincia LUCCA
Comune PIAZZA AL SERCHIO
Carabinieri PIAZZA AL SERCHIO
Coordinate Attenzione Le coordinate geografiche sono in gradi sessagesimali approssimate al secondo. Le coordinate piane e le quote sono espresse in metri con cifre significative fino al decametro.
ROMA40   ETRF2000   Quote
Φ 44° 10' 55"   Φ 44° 10' 57"   s.l.m. 810
λ -02° 11' 17"   λ 10° 15' 50"   Quote ellisoidica  
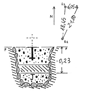
Materializzazione Sul ciglio di un pianoro sottostante i monti di Debbia. Centrino di fondo e di superficie coassiali, cementati in blocchi di calcestruzzo indipendenti. Riferimenti: R1 freccia incisa su di una pietra costituente la parte superiore dello stipite della porta di un ovile. R2 centrino di riferimento.
Accesso Proveniendo da Piazza al Serchio, lungo la strada che porta a Minucciano, giunti nell'abitato di Nicciano, si prende a dx la strada a Cortia. Quindi si svolta a dx seguendo l'indicazione Contra, a sx, per una mulattiera che porta al pianoro sottostante i monti di Dèbbia.
Informazioni Ausiliare
Produttore IGM
Segnalizzato 1991
Modalita':  Vertici trigonometrici di certa definizione
Immagini:




Monografia Foto 1
(Clicca sulle immagini per ingrandire)
Message