Salta ai contenuti.Salta alla navigazione

Dal 9 dicembre 2025 al 12 gennaio 2026 compresi non sarà possibile effettuare acquisti sul nostro sito web. Potrete tornare a fare i vostri acquisti online dal 13 gennaio 2026.

Dal 9 dicembre 2025 al 12 gennaio 2026 compresi non sarà possibile effettuare acquisti sul nostro sito web. Potrete tornare a fare i vostri acquisti online dal 13 gennaio 2026.

132313 MONTE PIAN ZAETA

MONTE PIAN ZAETA
10.0 NETTO IVA 22.0%
  • Disponibilita'
  • Accedi al sito per procedere con l'acquisto
Punti trigonometrici scheda descrittiva
Le schede monografiche dei punti trigonometrici non sono visibili poiche' al momento e' in corso la loro digitalizzazione: prima di acquistare il punto si consiglia di contattare l'archivio geodetico per avere maggiori informazioni
132313     MONTE PIAN ZAETA
Cartografia Serie 25 337 sez I Arquata del Tronto
Serie 25V 132 IISO Accumoli
Localizzazione
Nazione ITALIA
Regione LAZIO
Provincia RIETI
Comune ACCUMOLI
Carabinieri ACCUMOLI
Coordinate Attenzione Le coordinate geografiche sono in gradi sessagesimali approssimate al secondo. Le coordinate piane e le quote sono espresse in metri con cifre significative fino al decametro.
ROMA40   ETRF2000   Quote
Φ 42° 42' 34"   Φ 42° 42' 37"   s.l.m. 1330
λ 00° 50' 17"   λ 13° 17' 25"   Quote ellisoidica  
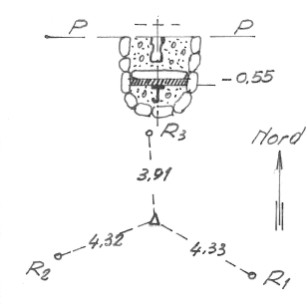
Materializzazione Segnale sulla sommità del monte. Centrino di fondo con sovrastante centrino di superficie in vetro, cementati in blocchi separati di calcestruzzo. Riferimenti: tre centrini.
Accesso Da Poggio D'Api per mulattiera che attraversa il Rio e ragginge la zona "i Colli" in due ore circa.
Informazioni Ausiliare
Produttore IGM
Segnalizzato 1951
Modalita':  Vertici trigonometrici di certa definizione
Immagini:




Monografia
(Clicca sulle immagini per ingrandire)
Message