Salta ai contenuti.Salta alla navigazione

Dal 9 dicembre 2025 al 12 gennaio 2026 compresi non sarà possibile effettuare acquisti sul nostro sito web. Potrete tornare a fare i vostri acquisti online dal 13 gennaio 2026.

Dal 9 dicembre 2025 al 12 gennaio 2026 compresi non sarà possibile effettuare acquisti sul nostro sito web. Potrete tornare a fare i vostri acquisti online dal 13 gennaio 2026.

013219 MONTE RINALDO

MONTE RINALDO
10.0 NETTO IVA 22.0%
  • Disponibilita'
  • Accedi al sito per procedere con l'acquisto
Punti trigonometrici scheda descrittiva
Le schede monografiche dei punti trigonometrici non sono visibili poiche' al momento e' in corso la loro digitalizzazione: prima di acquistare il punto si consiglia di contattare l'archivio geodetico per avere maggiori informazioni
013219     MONTE RINALDO
Cartografia Serie 25 030 sez I Comèlico Superiore
Serie 25V 013 IVNE Valle Visdende
Localizzazione
Nazione ITALIA
Regione VENETO
Provincia BELLUNO
Comune SANTO STEFANO DI CADORE
Carabinieri S. STEFANO DI CADORE
Coordinate Attenzione Le coordinate geografiche sono in gradi sessagesimali approssimate al secondo. Le coordinate piane e le quote sono espresse in metri con cifre significative fino al decametro.
ROMA40   ETRF2000   Quote
Φ 46° 35' 54"   Φ 46° 35' 57"   s.l.m. 2470
λ 00° 12' 21"   λ 12° 39' 29"   Quote ellisoidica  
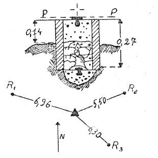
Materializzazione Segnale sulla cima del monte. Centrini di fondo e di superficie in vetro. Riferimenti: 2 centrini metallici R1, R2 e una in vetro R3 .
Accesso Da Cima Canale per sentiero difficoltoso nell'ultimo tratto in circa 4 ore.
Informazioni Ausiliare
Produttore IGM
Segnalizzato 1946
Modalita':  Vertici trigonometrici di certa definizione
Immagini:




Monografia
(Clicca sulle immagini per ingrandire)
Message