Salta ai contenuti.Salta alla navigazione

Dal 9 dicembre 2025 al 12 gennaio 2026 compresi non sarà possibile effettuare acquisti sul nostro sito web. Potrete tornare a fare i vostri acquisti online dal 13 gennaio 2026.

Dal 9 dicembre 2025 al 12 gennaio 2026 compresi non sarà possibile effettuare acquisti sul nostro sito web. Potrete tornare a fare i vostri acquisti online dal 13 gennaio 2026.

0182#_D03_002# S. MARINO (Chiesa S. Antonio)

0182#_D03_002# S. MARINO (Chiesa S. Antonio)
20.0 NETTO IVA 22.0%
  • Disponibilita'
  • Accedi al sito per procedere con l'acquisto
Ultimo aggiornamento DB 2018-11-06, Scheda generata il 07/11/2018.
caposaldi di livellazione scheda descrittiva
Prima di acquistare questo caposaldo si consiglia di scaricare la scheda della monografia presente in questa pagina, per verificare, con un sopralluogo, il buon stato di conservazione della materializzazione (a volte danneggiata da ristrutturazioni edili, stradali, eventi naturali, vandalismi ecc)
0182#_D03_002#     S. MARINO
Coordinate
ROMA40   ETRF2000  
ROMA40 Φ       45° 53' 48"   ETRF2000 Φ       45° 53' 51"  
ROMA40 λ      -00° 45' 36"   ETRF2000 λ       11° 41' 31"  
 
Localita e Cartografia
Comune SAN NAZARIO           Serie 100 037 Bassano del Grappa
Provincia VICENZA  Serie 50 083 Monte Grappa
Regione VENETO   Serie 25 083 sez III Monte Grappa
Nazione ITALIA   Serie 25V 037 IVSE Valstagna
Quote (m)  AttenzioneLe quote sono espresse in metri e troncate al metro
  A B C  
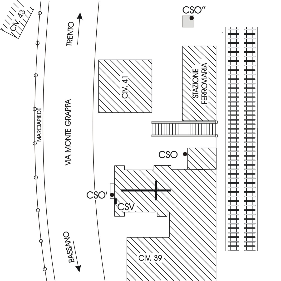
175 (CSO) - Bullone IGM infisso sulla faccia, lato strada, del campanile.
173 (CSO') - Chiodo anonimo IGM infisso nel gradino all'ingresso della chiesa nell'angolo destro.
179 (CSO") - Centrino universale R.Veneto infisso presso l'angolo del basamento di una piccola fontanella.
175.0 (CSV) - Piastrina di altro Ente R.Veneto infissa a destra della porta d'ingresso alla chiesa.
Prog. Chilometrica (titolo e link)   Km 28,988 dal Caposaldo 0182#_###_036#
Ultima ricognizione 2009
Modalita' Caposaldo di livellazione
Immagini:



Monografia Foto 1 Foto2
(Clicca sulle immagini per ingrandire)
© 2015 Istituto Geografico Militare, vietata la copia e la divulgazione non autorizzata.
Message