Salta ai contenuti.Salta alla navigazione

Dal 9 dicembre 2025 al 12 gennaio 2026 compresi non sarà possibile effettuare acquisti sul nostro sito web. Potrete tornare a fare i vostri acquisti online dal 13 gennaio 2026.

Dal 9 dicembre 2025 al 12 gennaio 2026 compresi non sarà possibile effettuare acquisti sul nostro sito web. Potrete tornare a fare i vostri acquisti online dal 13 gennaio 2026.

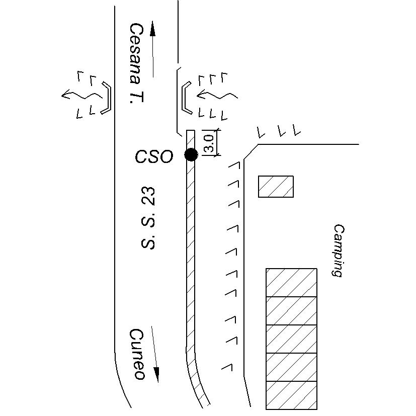
0143#_###_027# S. S. 23 - KM 80.900

0143#_###_027# S. S. 23 - KM 80.900
20.0 NETTO IVA 22.0%
  • Disponibilita'
  • Accedi al sito per procedere con l'acquisto
Ultimo aggiornamento DB 2018-11-06, Scheda generata il 07/11/2018.
caposaldi di livellazione scheda descrittiva
Prima di acquistare questo caposaldo si consiglia di scaricare la scheda della monografia presente in questa pagina, per verificare, con un sopralluogo, il buon stato di conservazione della materializzazione (a volte danneggiata da ristrutturazioni edili, stradali, eventi naturali, vandalismi ecc)
0143#_###_027#     S. S. 23 - KM 80.900
Coordinate
ROMA40   ETRF2000  
ROMA40 Φ       45° 01' 12"   ETRF2000 Φ       45° 01' 14"  
ROMA40 λ      -05° 30' 12"   ETRF2000 λ       06° 56' 54"  
 
Localita e Cartografia
Comune PRAGELATO           Serie 100 054 Bardonecchia
Provincia TORINO  Serie 50 152 Gran Bagná
Regione PIEMONTE   Serie 25 152 sez IV Rochemolles
Nazione ITALIA   Serie 25V 054 II-SE Oulx
Quote (m)  AttenzioneLe quote sono espresse in metri e troncate al metro
  A B C  
1502 (CSO) Bulloncino inox orizzontale infisso sulla sommità del cordolo del muro di contenimento a monte in prossimità dell'estremita rivolta a Pragelato



Prog. Chilometrica (titolo e link)   Km 23,908 dal Caposaldo 00BF#_###_095#
Ultima ricognizione 2003
Modalita' Caposaldo di livellazione
Immagini:



Monografia Foto 1
(Clicca sulle immagini per ingrandire)
© 2015 Istituto Geografico Militare, vietata la copia e la divulgazione non autorizzata.
Message